Soll ich Dir jetzt wirklich die Suchfunktion um die Ohren hauen? ;-))Original geschrieben von Grisuchris
Hast du zufällig digitalisierte Unterlagen, wie der Auswerter des PB II genau funktioniert. Das hat mich jetzt doch neugirig gemacht.
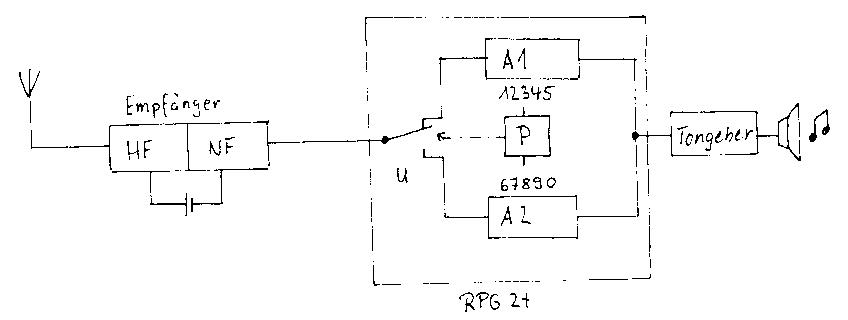
http://www.feuerwehrfunk-net.de/schaltplan.htm
Aber beim nächsten Mal....
MfG
Frank


Zitieren