Seite 1 von 2 12 LetzteLetzte
Ergebnis 1 bis 15 von 22

Thema: Wieviel Adern zum Handapparat?

  1. #1
    Registriert seit
    11.08.2006
    Beiträge
    543

    Wieviel Adern zum Handapparat?

    Man, ich glaube ich stelle manchmal auch dämliche Fragen - nur leider hat die Suche keine Ergebnis gebracht...

    Also, ich müsste einen Ackermann Hörer mit einem neuen Sprialkabel ausstatten... Ich habe hier noch eines, allerdings mit nur 4 Adern...

    Frage: Funzt das? Also NF, Mic, Sendertastung und 1 (gemeinsame) Masse? Bei PC-Headsets läuft das z.T. ja auch so ähnlich (nur ohne PTT)...

    Oder gibt das Störungen? Dann gibt es ein neues Spiralkabel...

  2. #2
    Registriert seit
    25.01.2007
    Beiträge
    224
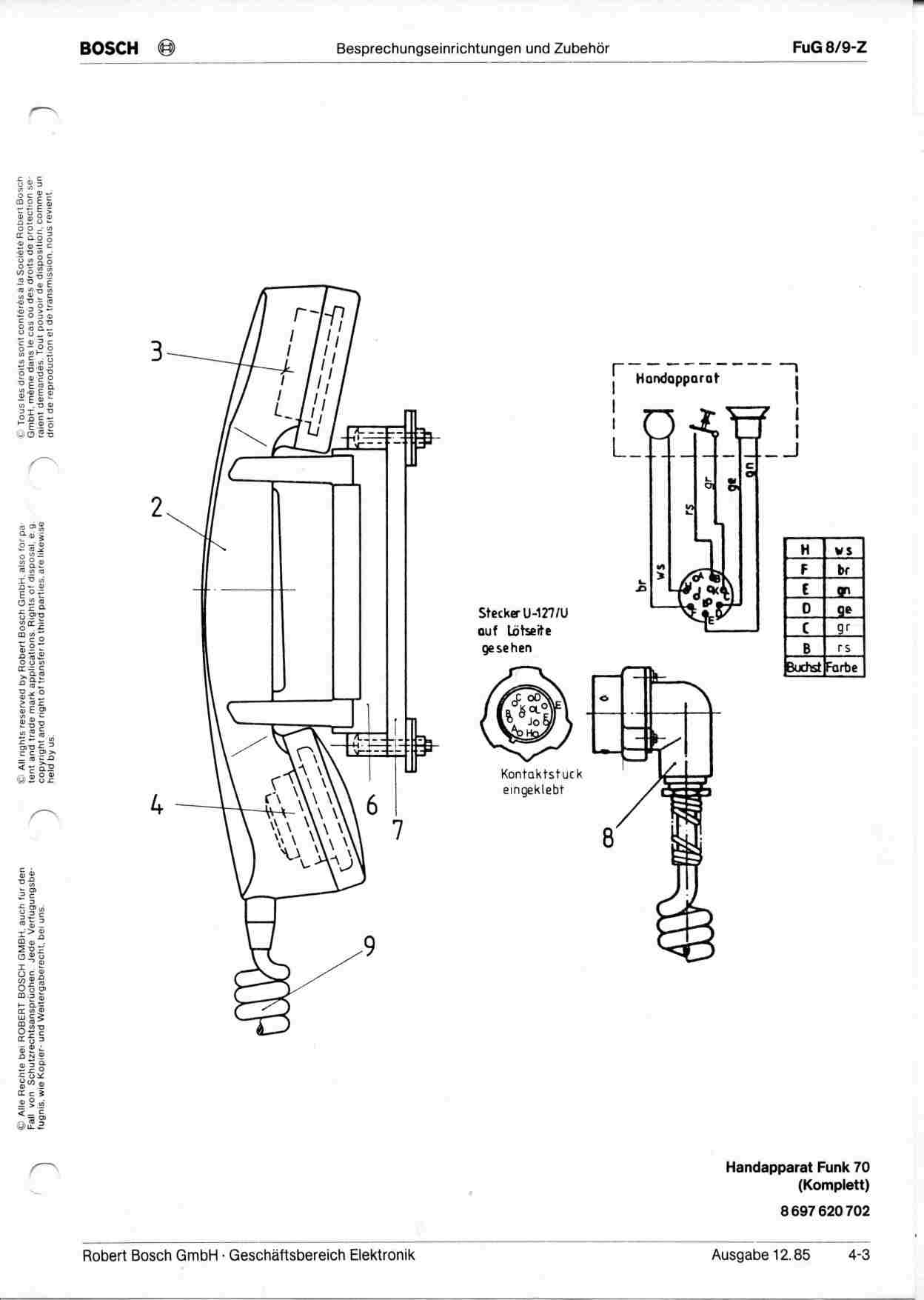
    Also mindestens 7 Adern sollten es dann schon sein (2xNFin, 2xNFout, 1xST, 1x12V[Schaltspg], 1xMasse). Schau einfach mal in die Norm für die Anschlussbuchsen.

    Gruß
    fwmorpheus

    edit: Die Sendertastung wird mit der Schaltspannung gesteuert, abr Achtung: nicht mit der Betriebsspannung für Zusatzgeräte verwechseln (Funktioniert nicht bei allen Geräten)
    Kameradschaft heißt, dass der Kamerad schafft....
    Beim Verlassen der Wohnung nach Alarm bitte Gehirn nicht vergessen!
    Denken, drücken, (warten), sprechen!

  3. #3
    Registriert seit
    21.12.2002
    Beiträge
    3.134
    Theoretisch würden 5 Adern reichen, idealerweise nimmt man aber ein 6-adriges Spiralkabel. Sendertastung erfolgt bei den BOS-Geräten mit +, da wird es also nichts mit 4 Adern.

    MfG

    Frank

  4. #4
    Registriert seit
    11.08.2006
    Beiträge
    543
    Danke für die schnelle Antwort!

    Nun ja, ein Spiralkabel kostet ja nicht die Welt, dann muss ich wohl ein neues bestellen...

    Wär nur schön gewesen, wenn es gepasst hätte, dann könnte man das gleich fertig machen...

  5. #5
    Registriert seit
    17.06.2006
    Beiträge
    565
    Hallo,

    laut Buebchen soll auch ein 4 pol. Kabel mit Schirmung funktionieren.
    http://funkmeldesystem.de/foren/show...ermann+H%F6rer

    Laut Conrad hat dieses aber 5 Adern + Schirm.
    Zwei Längen lieferbar.
    25 01 20 mit 125cm
    93 00 54 mit 280cm

    Ich suche ebenfalls zwei von den Spiralkabeln, kennt jemand einen günstigen Anbieter für ein Originalkabel für Ackermann Funk 60 Handapparat.

    Gruß
    cockpit

  6. #6
    Registriert seit
    11.08.2006
    Beiträge
    543
    Von der Sache her habe ich mir das so ähnlich gedacht wie Bübchen!

    Hat das schon mal jemand getestet?

  7. #7
    Registriert seit
    28.11.2005
    Beiträge
    2.759
    Mindestens ist folgende Belegung nötig:

    1 - NF heiss
    2 - GND
    3 - LS heiss
    4 - VCC
    5 - PTT (gegen VCC)

    Alternativ nimmt man

    1 - NF heiss
    2 - GND
    3 - LS heiss
    4 - PTT (gegen GND)

    und muss im Stecker (zum FuG) nen Transistor und nen Widerstand
    einbauen, um die PTT-Leitung von "gegen GND" auf "gegen VCC"
    zu bekommen. Ist aber eher "Frevel" ;)

    Gruss,
    Tim
    --
    In a world without walls and fences, who needs Windows and Gates ??

    Meine private Webseite: http://www.db1jat.org

  8. #8
    Registriert seit
    25.01.2007
    Beiträge
    224
    @Shinzon: Wenn du dein FuG mutwillig zerstören willst, kannst du gerne die Massen von LS und Mic zusammenlegen (NF Mod klat, NF Demod kalt). Könnte bei einigen Herstellern zu extremen Problemen führen.
    Kameradschaft heißt, dass der Kamerad schafft....
    Beim Verlassen der Wohnung nach Alarm bitte Gehirn nicht vergessen!
    Denken, drücken, (warten), sprechen!

  9. #9
    Registriert seit
    21.12.2002
    Beiträge
    3.134
    Was soll da genau passieren und welche Hersteller sollen das sein?

    MfG

    Frank

  10. #10
    Registriert seit
    28.11.2005
    Beiträge
    2.759
    Genau, was soll da passieren, wenn man vorher mit dem Durchgangsprüfer
    festgestellt hat, das die alle auf dem gleichen Niveau liegen ?
    --
    In a world without walls and fences, who needs Windows and Gates ??

    Meine private Webseite: http://www.db1jat.org

  11. #11
    Registriert seit
    11.08.2006
    Beiträge
    543
    Ja... Bin nun etwas verwirrt...

    Allerdings habe ich mir das Kabel nochmal angeschaut - also es hat 4 Adern PLUS Schirm...

    Also müsste es doch gehen (oder hab ich da nun was falsch verstanden)?

  12. #12
    Registriert seit
    29.03.2006
    Beiträge
    5.311
    @Walmsburg:

    Kurz: Ja, es würde auch mit deinem vorhandenen Kabel gehen (sihe 2. Beispiel von Timmie)

    Aber abgesehen davon, dass man um Störungen zu vermeiden eh ein Abgeschirmtes Kabel nehmen sollte ^^

    Müsstest du dann noch einen passenden Transistor und Widerstand in den Stecker am FuG löten, was wohl eher suboptimal ist...

    MfG Fabsi

  13. #13
    Registriert seit
    25.01.2007
    Beiträge
    224
    Das hat nix mit dem gleichen Niveau zu tun, sondern mit den Ein- und Ausgangswiderständen deiner Endstufe, da diese nur für bestimmte Impedanzen zugelassen sind.
    Schleißt man jetzt die Leitungen entsprechend kurz, kann es sein, dass entweder beim Senden nur ein stark reduziertes NF-Signal rauskommt oder beim Empfang die Mic-Endstufe einen Großteil der Leistung des Verstärkers aufnehmen muss (Impedanzen von LS/Mic beachten).
    Das Ganze kann aber durch Überträgerbausteine in der Nähe des FuG behoben werden, welche dann die zwei Stromkreise für Mic und LS galvanisch trennen. Nach dem Überträger ist es dann im Prinzip egal, wie man dann weiter anschließt.
    Kameradschaft heißt, dass der Kamerad schafft....
    Beim Verlassen der Wohnung nach Alarm bitte Gehirn nicht vergessen!
    Denken, drücken, (warten), sprechen!

  14. #14
    Registriert seit
    29.03.2006
    Beiträge
    5.311
    @fwmorpheus: Geil... nichts gegen dich, aber du hast da wohl was überlesen ;)

    Denn DAS was du da schilderst wäre, wenn man BEIDE Leitungen eines Verstärkers brückt ^^

    Es soll aber lediglich der GND gebrückt werden, weil der bei diesem Elektronikaufbau eh genau das gleiche Potential auf der Platine hat... Nein sogar DAS Selbe!!

    Denn wäre es anders, müsste ja JEDER Sicherungskasten nach kurze Zeit seinen Dienst mit einem Lauten Knall quitieren... Also ein Absolutes Horror-Zenario ^^ *schauder*

    MfG Fabsi

    P.S.: Appropos, das "Ding" nennt sich übrigens "Übertrager" mit a anstatt ä ;)

    /Edit:

    Da fällt mir noch grade auf, wie du den Lautsprecher an einer Endstufe mit einem Zwischengeschalteten Ubertrager beteiben willst, musst du mir mal genau erklären... Das wäre dann nämlich wohl eher ein Perpetuum Mobile... Selbiges mit dem Mic an dem Verstärker...
    /Ironie-modus an: Gerne auch nur per PN ;) /Ironie-modus off.

    /edit-hat-gesprochen

  15. #15
    Registriert seit
    17.06.2006
    Beiträge
    565
    So, jetzt hab ihr’s geschafft! *ohmschesgesetzauskram*
    Was Shinzon gemeint hat, wenn die Mikrofonmasse und Lautsprechermasse im Funkgerät zusammen kurzgeschlossen sind, darf man diesen Kurzschluss auch kurzschließen.
    Also zusammenhängen. Würde die Schirmleitung hierfür verwenden, allerdings nicht mit einem Durchgangsprüfer überprüfen, sondern schon mit einem Ohmmeter. Manch Durchgangsprüfer piepsen ja schon bei 200 Ohm.

    http://www.oppermann-telekom.de/bilder/funk75-plan.jpg

    @Fabpicard
    warst zwar schneller, aber trotzdem!

    Gruß
    cockpit
    Miniaturansichten angehängter Grafiken Miniaturansichten angehängter Grafiken Klicken Sie auf die Grafik für eine größere Ansicht 

Name:	Belegung.jpg 
Hits:	204 
Größe:	72,9 KB 
ID:	5797  

Aktive Benutzer

Aktive Benutzer

Aktive Benutzer in diesem Thema: 1 (Registrierte Benutzer: 0, Gäste: 1)

Berechtigungen

  • Neue Themen erstellen: Nein
  • Themen beantworten: Nein
  • Anhänge hochladen: Nein
  • Beiträge bearbeiten: Nein
  •