Hallo, leider hat die suche nichts gebracht.
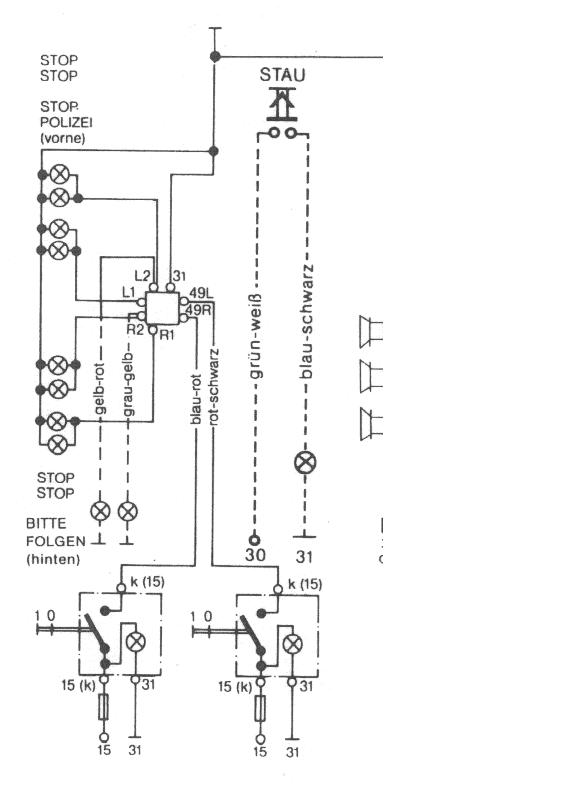
ich möchte gern einen Hella-Taktgeber mit einem Hella-ASG verbinden sodass STOP und POIZEI abwechseld leuchtet. leider habe ich keinen plassen schimmer weche anschlüsse ich wie verbinden muss... Kann mir jemand helfen?


Zitieren
