Hallo Zusammen!
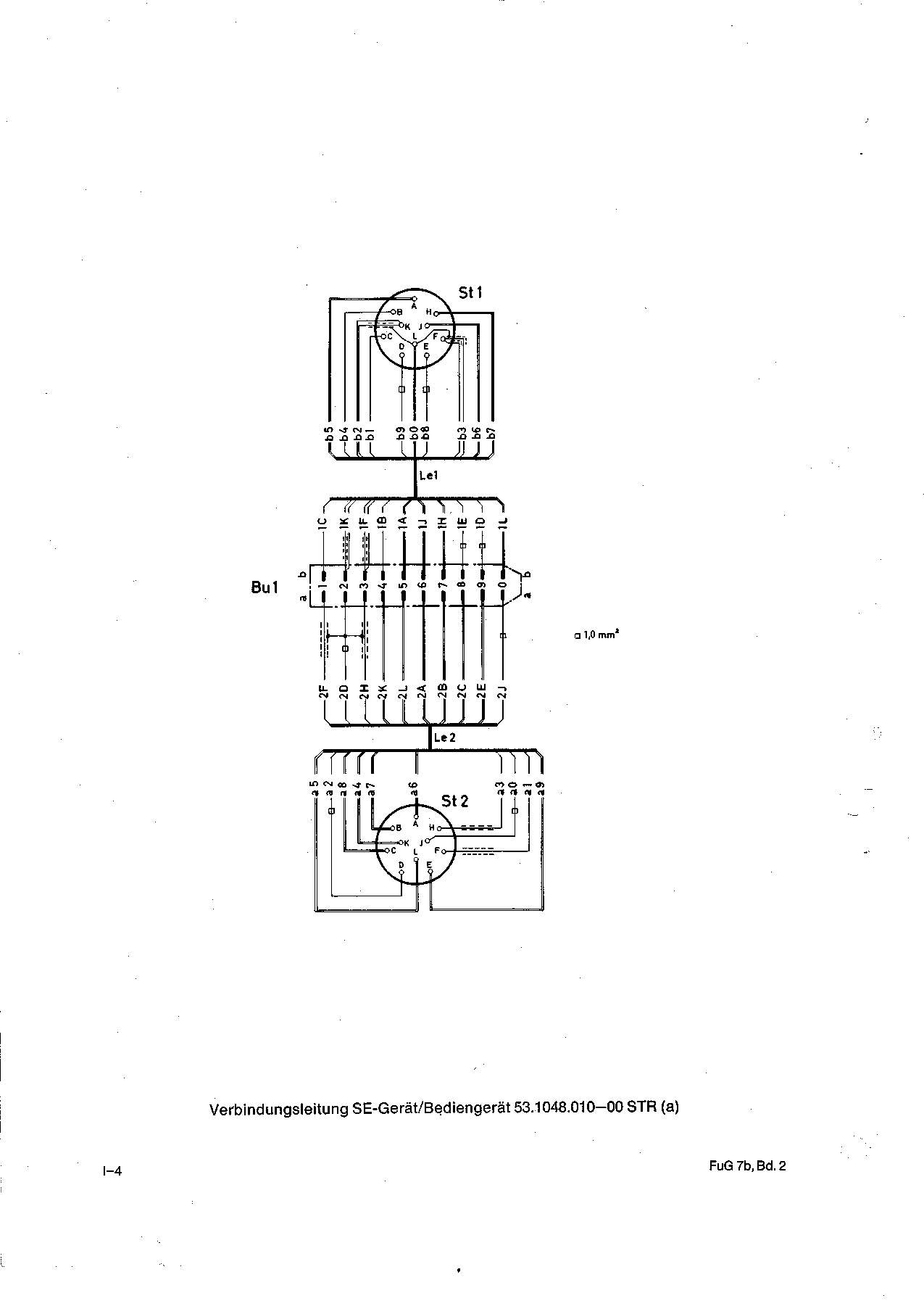
Ich hab ein orginal Abgesetztes Bedienteil-Telefunken- für ein Fug 7.
Ich würde dieses gerne betreiben mir fehlt allerdings die Belegung von dem Anschlußstecker (Messerleiste) auf der Rückseite.
Hat die vielleicht jemand von Euch?
Danke FUKW



Zitieren
