Ergebnis 1 bis 2 von 2

Thema: Handappart Ackermann Funk 70

Hybrid-Darstellung

Vorheriger Beitrag Vorheriger Beitrag   Nächster Beitrag Nächster Beitrag
  1. #1
    KaiCreu Gast

    Handappart Ackermann Funk 70

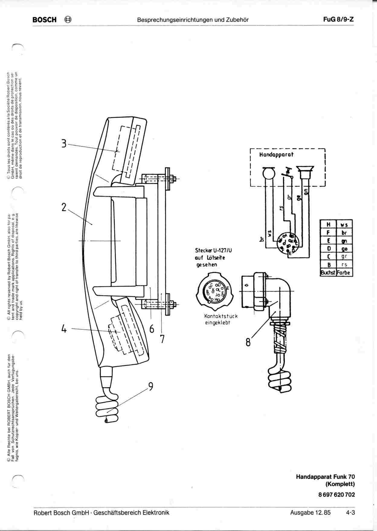
    Ich bin auf der Suche nach dem belegungsplan für einen Ackermann Handapparat und zwar den Funk 70.

    wollte ihn ganz gerne anschließen und geht leider nicht da keine Belegung dabei ist.

    Kann mir da jemand helfen?

  2. #2
    Registriert seit
    10.12.2001
    Beiträge
    543
    Hallo!
    Anbei das Anschlussbild zum Funk70.

    MFG
    Martin
    Miniaturansichten angehängter Grafiken Miniaturansichten angehängter Grafiken Klicken Sie auf die Grafik für eine größere Ansicht 

Name:	seite2.jpg 
Hits:	185 
Größe:	72,9 KB 
ID:	789  

Aktive Benutzer

Aktive Benutzer

Aktive Benutzer in diesem Thema: 1 (Registrierte Benutzer: 0, Gäste: 1)

Berechtigungen

  • Neue Themen erstellen: Nein
  • Themen beantworten: Nein
  • Anhänge hochladen: Nein
  • Beiträge bearbeiten: Nein
  •